正航儀器設備技術整理斷開和接上電源試驗
文章出處:正航儀器
人氣:
發表時間:2015-08-11
正航儀器設備技術整理斷開和接上電源試驗
1.斷開和接上電源試驗
1.1牽引電動機
試驗按JB33697.1條的規寇進行。
當電動機在保證定額的電流下工作時,用快速開關斷開電源約1s后,再重新接上。每隔3-5min斷開和接上1次。共重復進行6次(若電動機磁場是可調節的,應在磁場級和最深削弱磁場級下各作3 次)。
試驗中,選摔適當容量的電源,電動機的轉速盡可能保持不變。在重新接上前的瞬間,供電電壓至少等于電壓,在接」三后的瞬間,應不低于0.9 倍額定電壓。
試驗時,用示技器攝取斷開和接上時的電壓和電流波形。
2. 輔助電動機
試驗按JB 3369 7.2.1 的規定進行。
試驗時用快速開關切斷電動機電源, 然后在約1 s 的時間內恢復,重復進行5 次。允許在連續在斷開和接上電源試驗中,電機應兀任何機械損壞、變形、環火、對地飛弧等影響試驗后正常運轉的損傷。
3.整套輔助機組的供電電壓突變試驗和復勵電動機的附加試驗
3.1供電電壓突變試驗
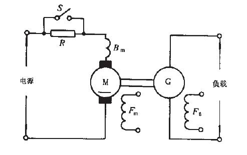
試驗時,電機按JB 3369 7.2.2規定的條件正常運轉。試驗用一個并聯奮短路開關的適當電阻R和電動機M相串聯來進行,如圖16所示。短路斤關5 應每隔5 s 動作l 次,共斷開10次和閉合10次
使電動機的端電壓在和電壓值間突變。試驗期間,電動機與被拖動機器的信制器不作其他調整。整
試驗中,電機應無任何機械損壞、變形、環火、對地飛狐等影響試驗后正常運轉的鎖壞。
1.斷開和接上電源試驗
1.1牽引電動機
試驗按JB33697.1條的規寇進行。
當電動機在保證定額的電流下工作時,用快速開關斷開電源約1s后,再重新接上。每隔3-5min斷開和接上1次。共重復進行6次(若電動機磁場是可調節的,應在磁場級和最深削弱磁場級下各作3 次)。
試驗中,選摔適當容量的電源,電動機的轉速盡可能保持不變。在重新接上前的瞬間,供電電壓至少等于電壓,在接」三后的瞬間,應不低于0.9 倍額定電壓。
試驗時,用示技器攝取斷開和接上時的電壓和電流波形。
2. 輔助電動機
試驗按JB 3369 7.2.1 的規定進行。
試驗時用快速開關切斷電動機電源, 然后在約1 s 的時間內恢復,重復進行5 次。允許在連續在斷開和接上電源試驗中,電機應兀任何機械損壞、變形、環火、對地飛弧等影響試驗后正常運轉的損傷。
3.整套輔助機組的供電電壓突變試驗和復勵電動機的附加試驗
3.1供電電壓突變試驗
試驗時,電機按JB 3369 7.2.2規定的條件正常運轉。試驗用一個并聯奮短路開關的適當電阻R和電動機M相串聯來進行,如圖16所示。短路斤關5 應每隔5 s 動作l 次,共斷開10次和閉合10次
使電動機的端電壓在和電壓值間突變。試驗期間,電動機與被拖動機器的信制器不作其他調整。整

試驗中,電機應無任何機械損壞、變形、環火、對地飛狐等影響試驗后正常運轉的鎖壞。
此文關鍵詞:
同類文章排行
- 鹽霧試驗箱校準規范
- 鹽霧試驗箱操作全流程
- 鹽霧試驗箱的細致維護與保養方法
- 鹽霧試驗箱不噴霧的原因及解決方法
- 鹽霧試驗箱保養全攻略
- 快碼住!!精英版恒溫恒濕箱操作保養維護手
- 砂塵試驗箱可不是小透明!
- 鹽霧試驗箱的使用和維護方法
- 鹽霧試驗箱能否用于非金屬材料的測試?
- 如何挑選高性能鹽霧試驗箱?這份指南幫你少
最新資訊文章
- 水冷式冷熱沖擊箱送貨深圳老客戶公司
- 512L水冷式轉鼓氙燈老化試驗箱, 15
- PCT高壓加速老化試驗箱發貨韶關老客戶公
- 防水試驗箱(IP3456等級)送貨東莞客
- 水冷式冷熱沖擊試驗箱送貨佛山客戶公司
- 定制冷熱沖擊箱發貨湖北武漢老客戶公司
- 80L三箱式冷熱沖擊箱發貨江西客戶公司
- 三箱式冷熱沖擊試驗箱送貨廣州老客戶公司
- 冷熱沖擊箱發貨重慶客戶公司
- 可靠性環境實驗設備發貨南京
- 鹽霧試驗箱日常維護技巧
- 鹽霧試驗箱應該如何正確地使用?
- 鹽霧試驗箱的原理與應用
- 鹽霧試驗箱使用小技巧
- 如何選擇合適的鹽霧試驗箱
- 鹽霧試驗箱產品耐用性測試
- 鹽霧試驗箱的濕度控制技巧
- 鹽霧試驗箱守護產品質量
- 鹽霧試驗箱助您提升產品競爭力
- 鹽霧試驗箱提升測試效率
聯系我們

咨詢熱線:
400-822-8565